在线咨询
首页
产品中心
解决方案
平台软件
联系我们
技术支持
产品中心
您当前位置:
主页
>
产品中心
>
X
首页
产品中心
解决方案
平台软件
联系我们
技术支持
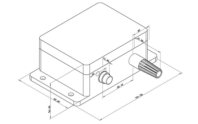
道路湿度传感器
道路湿度传感器多以湿度探头作为测量元件,将湿度信号采集出来,经过稳压滤波、运算放大、非线性校正、V/I转换、恒流及反向保护等电路处理后,转换成和湿度成线性关系的电流信
猪舍鸡舍厕所氨气显示气体浓度看板
24小时全天候在线监测,APP配置随时查看实时监测数据操作简单方便,实时数据上传至云平台和APP或当地政府监测平台。电脑/手机随时查看数据,免费赠送云平台/监控小程序/数据远程查看
公园小区广场舞噪声监测噪音分贝报警系统
噪声在线监测系统/通过物联网技术与现场端仪器仪表进行互联互通/完成对环境噪声数据实时采集/并对采集数据统计分析/计算噪声值。24小时自动监测,无需人工干预、稳定可靠。可通
井盖倾斜防盗传感器
打造现代化的智慧城市过程中扮演着举足轻重的作 用。井盖在城市的大街小巷随处可见,一旦遇到井盖破损或是被盗,如果得不到及时处理, 很容易造成巨大的安全隐患,危及到人民
液晶显示温湿度传感器nb网络联网
基于 NB-IOT 网络由电池供电的超低功耗的新型物联网温湿度传 感器,该温湿度传感器精度高,并且具有稳定性好的优点。内置超大容量电池,可支持连续 使用 8 年。拥有液晶显示大屏,
<<
<
289
290
291
>
>>
相关方案
RELEVANT SOLUTIONS
gnss北斗灾害在线监测
GNSS北斗地质灾害在线监测系统基于全球卫星导航定位技术,通过连续运行参考站(CORS)与高精度GNSS监测终端构成差分定位网
加速度、振动频率、振幅
加速度、振动频率、振幅及倾斜角在线监测系统用于对工程结构、地质体或设备基础的动态响应状态进行连续监测,通过采集
斜坡质点速度监测系统
斜坡质点速度监测系统用于对边坡表层或浅层岩土体的动态响应进行连续观测,通过采集质点运动参数与姿态变化参数,识别
管道管廊水蒸气浓度在线
在工业生产过程中,许多工艺环节涉及气体输送和气体处理,例如压缩空气系统、天然气输送、工业废气处理、化工反应管道
雪湿度含水率多层管式雪
本产品为专用于积雪层湿度及含水率多层在线监测的管式结构传感器,采用FDR频域反射法原理,通过检测不同介电常数介质中
Copyright © 2026 www.awver.com 涉川实业 版权所有
备案号:
闽ICP备2020016989号-1